Bruska 300x1000
Kód: 2868
8000+ DODANÝCH STROJŮ
Ověřeno v reálném provozu. Důvěřují nám tisíce zákazníků.

ODBORNĚ TESTOVÁNO & OVĚŘENO V PRAXI
Prodáváme jen to, co bychom dali do vlastní dílny. Každý produkt porovnáváme a vybíráme tak, aby vydržel, vydělával a nezklamal.

VLASTNÍ SERVIS & TECHNICKÁ PODPORA
Když nastane problém, máte se na koho obrátit. Záruční i pozáruční servis a náhradní díly skladem.

EXPRESNÍ DORUČENÍ
Žádné nekonečné čekání. Vlastní sklad, ověřená logistika a profesionální balení.

Detailní popis produktu

✅ Bruska pro nepřetržitý provoz ve výrobě, velký rozsah broušení a programovatelný PLC ovladač SIEMENS, moderní a stabilní konstrukce. Vřeteník pracuje na dvou párech vodících lišt. Automatické posuvy pro 3 osy, digitální odpočet jako standard.
Technické údaje
- Rozměry pracovního stolu: 305 x 1020 mm
- Maximální posuv stolu: 350x1100 mm
- Maximální zatížení stolu: 400 kg
- Rozměry brusného kotouče: 350 x 40 x 127 mm

- Otáčky brusného kotouče: 1450 ot./min.
- Maximální vzdálenost osy vřetene od stolu: 580 mm
- Rychlost posuvu stolu: 7 - 23 m/min
- Automatický příčný posuv: 0,1 - 8 mm
- Zrychlený příčný posuv: 990 mm/min
- Rozměry magnetického stolu: 300 x 1000 mm
- Měřítko stupnice na ose Y: 0,02 mm
- Měřítko stupnice na ose Z: 0,005 mm
- Vertikální rychloposuv: 610 mm/min
- Vertikální automatický posuv: 0,005 - 0,05 mm
- Výkon vřetenového motoru: 5,5 kW
- Celkový výkon motoru: 9 kW
- Rozměry strojního prostoru včetně pohybu stolu: 4400 x 2200 x 2050 mm
- Hmotnost: 3500 kg

Charakteristiky stroje
- Automatické posuvy pro 3 osy
- Digitální odpočet
- Pevná konstrukce
- Velmi vysoká přesnost
Výbava v závislosti od verze
- Digitální odpočet
- Magnetický stůl 300 x 1000
- Brusný kotouč
- Trn na vyvažování brusného kotouče
- Držák brusného kotouče
- Chladicí systém
- Zařízení na ořezávání brusného kotouče
- oddělovač třísek
- Instalace halogenového osvětlení

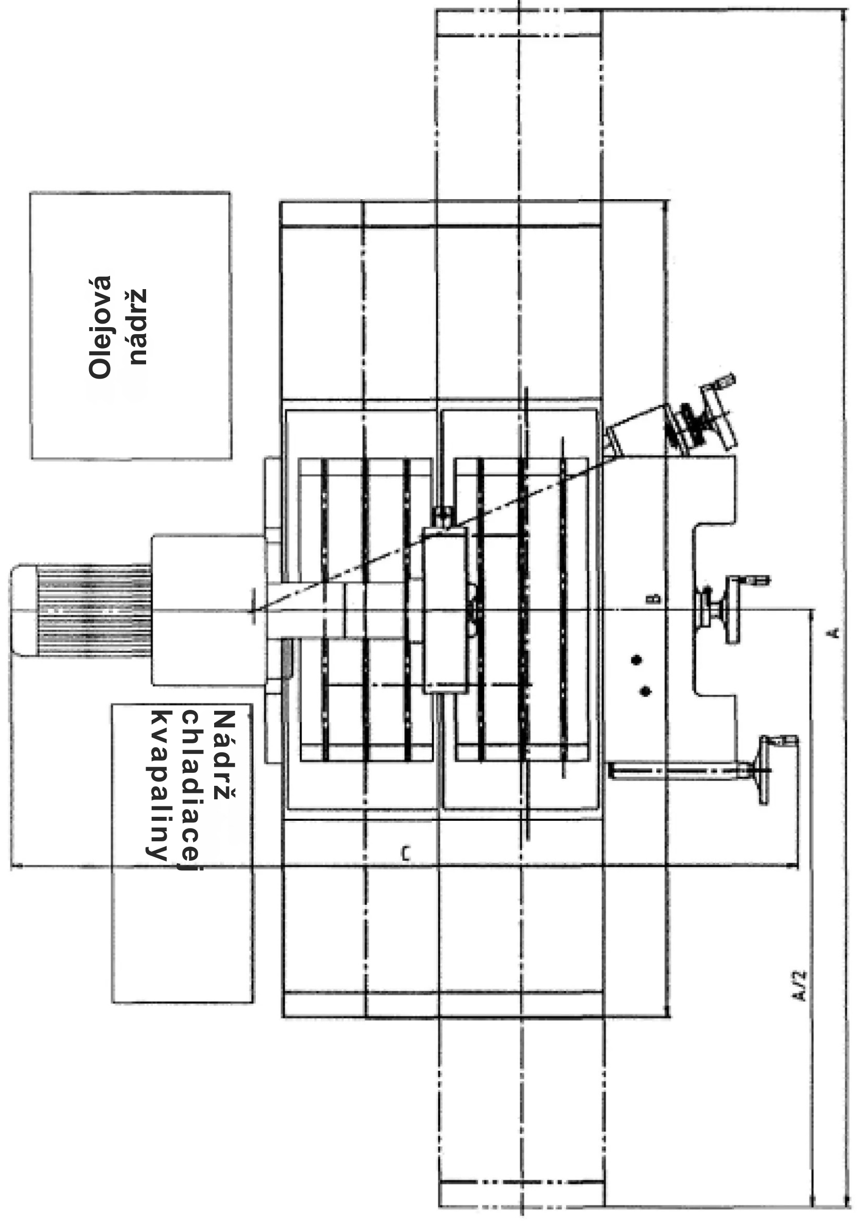
Schéma koncové polohy
| A | B | C. |
| 4 400 mm | 2085 mm | 2200 mm |
