Bruska 300x600
Kód: 2874
8000+ DODANÝCH STROJŮ
Ověřeno v reálném provozu. Důvěřují nám tisíce zákazníků.

ODBORNĚ TESTOVÁNO & OVĚŘENO V PRAXI
Prodáváme jen to, co bychom dali do vlastní dílny. Každý produkt porovnáváme a vybíráme tak, aby vydržel, vydělával a nezklamal.

VLASTNÍ SERVIS & TECHNICKÁ PODPORA
Když nastane problém, máte se na koho obrátit. Záruční i pozáruční servis a náhradní díly skladem.

EXPRESNÍ DORUČENÍ
Žádné nekonečné čekání. Vlastní sklad, ověřená logistika a profesionální balení.

Detailní popis produktu

✅ Tato NC bruska je perfektním řešením pro nepřetržitou výrobu a nabízí obrovský rozsah broušení díky pokročilému PLC ovladači SIEMENS. Stabilní konstrukce stroje zaručuje přesné a opakovatelné výsledky. Dva páry vodicích lišt vřeteníku zajišťují potřebnou stabilitu, zatímco automatické posuvy pro 3 osy a standardní digitální odčítání umožňují efektivní provoz.
✅ Vyberte si naši brusku a zaveďte do své výroby moderní a efektivní řešení.
Technické údaje
- Rozměr magnetického stolu: 300 x 600
- Maximální posuv stolu: 310x650 mm
- Maximální zatížení stolu: 270 kg

- Rozměry brusného kotouče: 350 x 40 x 127 mm
- Otáčky brusného kotouče: 1450 ot./min.
- Maximální vzdálenost osy vřetene od stolu: 580 mm
- Rychlost posuvu stolu: 7 - 25 m/min
- Automatický příčný posuv: 0,1 - 8 mm
- Zrychlený příčný posuv: 990 mm/min
- Dělení měrky na ose Y: 0,02 mm
- Dělení měrky na ose Z: 0,005 mm
- Vertikální rychloposuv: 610 mm/min
- Vertikální automatický posuv: 0,005 - 0,05 mm
- Výkon vřetenového motoru: 4 kW
- Celkový výkon motoru: 6,6 kW
- Rozměry strojního prostoru včetně pohybu stolu: 2800 x 2085 x 2200 mm
- Hmotnost: 3200 kg

Charakteristiky stroje
- Automatické posuvy pro 3 osy
- Digitální odpočet
- Pevná konstrukce
- Velmi vysoká přesnost
Výbava v závislosti na verzi
- Digitální odpočet
- Magnetický stůl 300 x 600
- Brusný kotouč
- Trn pro vyvážení brusného kotouče
- Držák brusného kotouče
- Chladící systém
- Zařízení na orovnávání brusných kotoučů
- Separátor třísek
- Instalace halogenového osvětlení

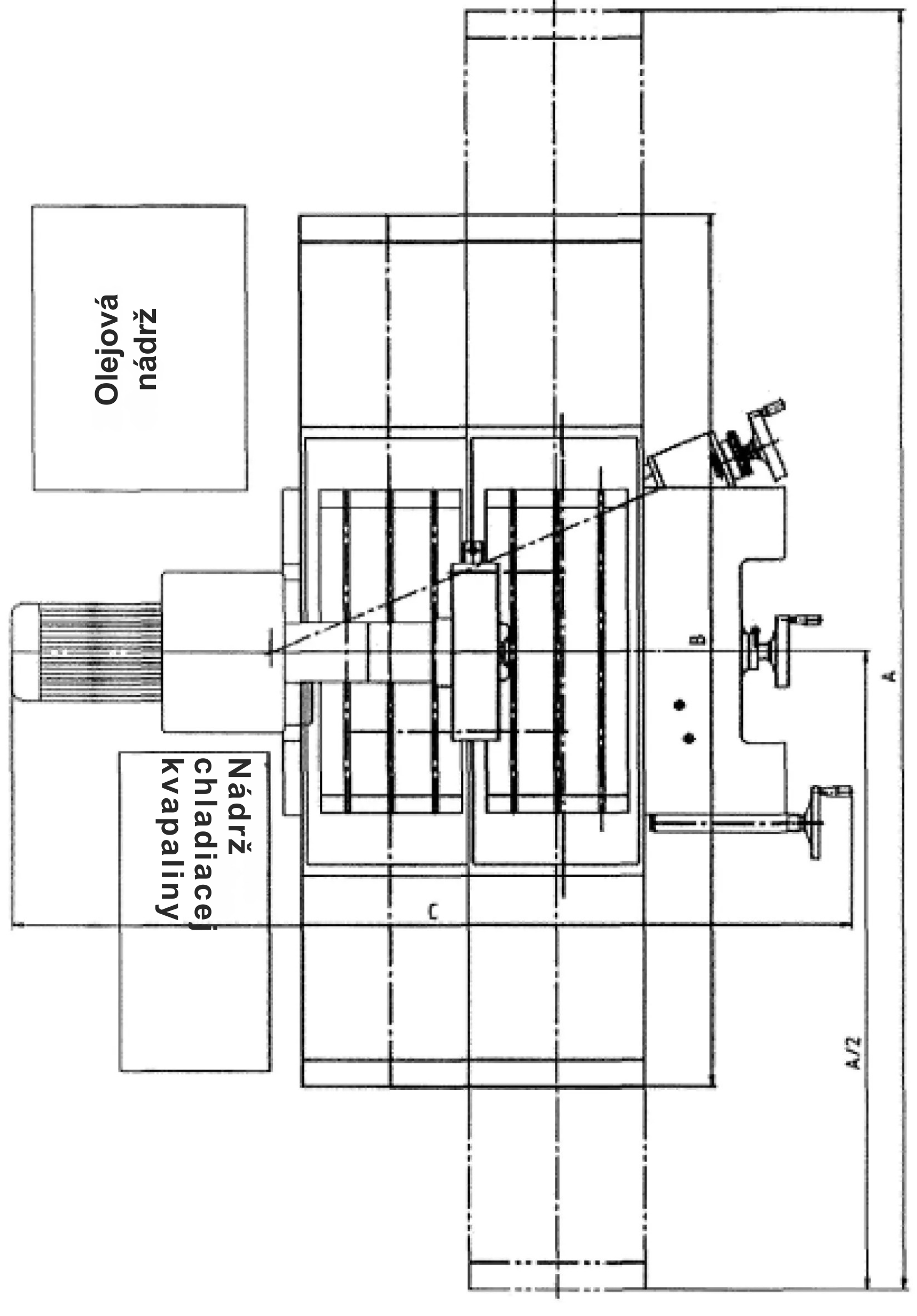
Schéma koncovej polohy
| A | B | C |
| 2 800 mm | 2085 mm |
2200 mm |
