Bruska 400x1000
Kód: 2862




Detailní popis produktu

✅ Tato bruska je perfektním řešením pro výrobu vyžadující nepřetržité broušení. Tento stroj, navržený podle nejnovějších průmyslových standardů, nabízí obrovský rozsah broušení díky programovatelnému ovladači SIEMENS PLC. Stabilní konstrukce zaručuje nejen spolehlivost, ale také moderní vzhled. Dva páry vodicích hlavic vřeteníku zajišťují stabilitu procesu broušení. Automatické posuvy pro 3 osy a standardní digitální odčítání zajišťují přesný a efektivní provoz stroje. Výběrem této brusky posunete efektivitu své výroby na novou úroveň.
Technické údaje
- Rozměr pracovního stolu: 406x1020 mm
- Maximální posuv stolu: 450x1100mm
- Otvor stolu: 14x3 mm
- Rychlost podélného pohybu stolu: 7~23 m/min
Maximální vzdálenost od povrchu stolu ke středu vřetena: 570 (460) mm- Maximální nosnost (včetně rukojeti): 600 kg
- Automatický posuv přerušovaný (příčný pohyb stolu): 0,1~8 mm
- Rychloposuv (příčný pohyb stolu): 990 mm/min
- Posuv ručního kola: 0,02 (0,001") mm 5 (0,2") mm
- Rozměry brusného kotouče: 350 x 40 x 127 mm
- Otáčky brusného kotouče: 1450 ot./min.
- Automatický posuv (vertikální pohyb): 0,005/0,01/0,02/0,03/0,04/0,05 mm
- Rychloposuv (vertikální pohyb): 480 mm/min
- Posuv ručního kola (vertikální pohyb): 0,005 (0,0002') mm/díl.1 (0,04") mm/ot.
- Motor vřetene: 5,5 kW
- Motor olejového čerpadla: 2,2 kW
- Motor chladicího čerpadla: 0,14 kW
- Vertikální pohon motoru: 1 kW
- Příčný pohon motoru: 0,04 kW
- Rozměry stroje: DxŠxV 3300 x 2400 x 2000 mm
- Hmotnost: 4000 kg

Charakteristiky stroje
- Automatické posuvy pro 3 osy
- Digitální odpočet
- Pevná konstrukce
- Velmi vysoká přesnost

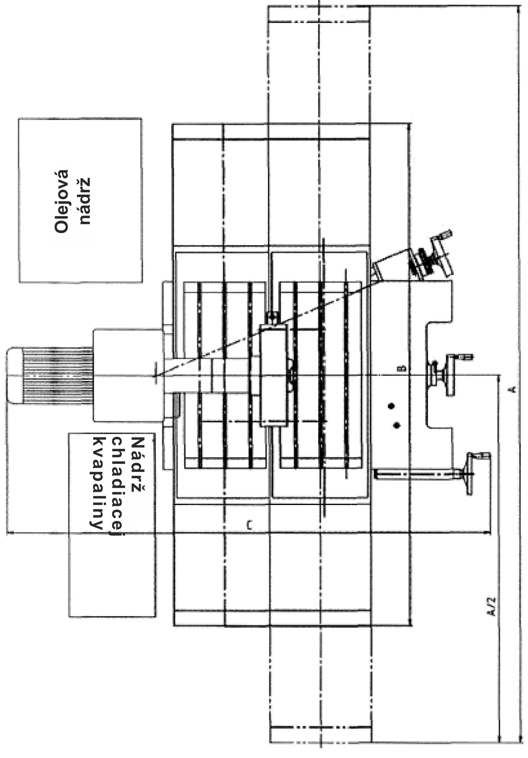
Schéma koncové polohy
A B C
4400 mm 3250 mm 2400 mm
Standardní vybavení
- digitální odpočet pro 3 osy
- elektromagnetický stůl 406 x 1020 mm
- brusný kotouč
- trn pro vyvážení brusného kotouče
- držák brusného kotouče
- sada nástrojů
- Instalace 24V osvětlení
- chladící systém
- prohlášení CE
