Bruska 400x800
Kód: 2865



Tisíce spokojných zákazníkov
Toto sú reálne fotografie od naších zákazníkov
Detailní popis produktu

✅ Tato moderní kontinuální bruska je klíčem k efektivní výrobě. Vybavena programovatelným PLC ovladačem SIEMENS umožňuje obsluhu stroje na nejvyšší úrovni. Stabilní konstrukce stroje zaručuje přesné broušení a zároveň splňuje nejnovější bezpečnostní normy. Dva páry vodicích hlavic zajišťují stabilní proces broušení, zatímco automatické posuvy pro 3 osy a standardní digitální odčítání dělají stroj snadno použitelným a přesným.
✅ Zvolte si modernost a efektivitu pro svou výrobu – vyberte si brusku značky CORMAK pro nepřetržitý provoz.
Technické údaje
- Rozměry pracovního stolu: 406x813 mm
- Maximální posuv stolu: 450x810 mm
- Otvor stolu: 14x3 mm
- Rychlost pohybu podélného stolu: 7~25 m/min
- Maximální vzdálenost od povrchu stolu ke středu vřetena: 580 mm
- Maximální nosnost (včetně rukojeti): 500 kg

- Automatický posuv přerušovaný (příčný pohyb stolu): 0,1~8 mm
- Rychloposuv (příčný pohyb stolu): 990 mm/min
- Posuv ručního kola: 0,02 (0,001") mm 5 (0,2") mm
- Rozměr magnetického stolu: 400x800 mm
- Rozměry brusného kotouče: 350 x 40 x 127 mm
- Otáčky brusného kotouče: 1450 ot./min.
- Automatický posuv (vertikální pohyb): 0,005/0,01/0,02/0,03/0,04/0,05 mm
- Rychloposuv (vertikální pohyb): 480 mm/min
- Posuv ručním kolem (vertikální pohyb): 0,005 (0,0002') mm/díl 1 (0,04") mm/ot.
- Motor vřetene: 5,5 kW
- Motor olejového čerpadla: 2,2 kW
- Motor chladicího čerpadla: 0,125 kW
- Vertikální pohon motoru: 0,5 kW
- Příčný pohon motoru: 0,04 kW
- Rozměry stroje: 3600 x 2400 x 2630 mm
- Hmotnost brutto: 3500 kg

Charakteristiky stroje
- Automatické posuvy pro 3 osy
- Digitální odpočet
- Pevná konstrukce
- Velmi vysoká přesnost

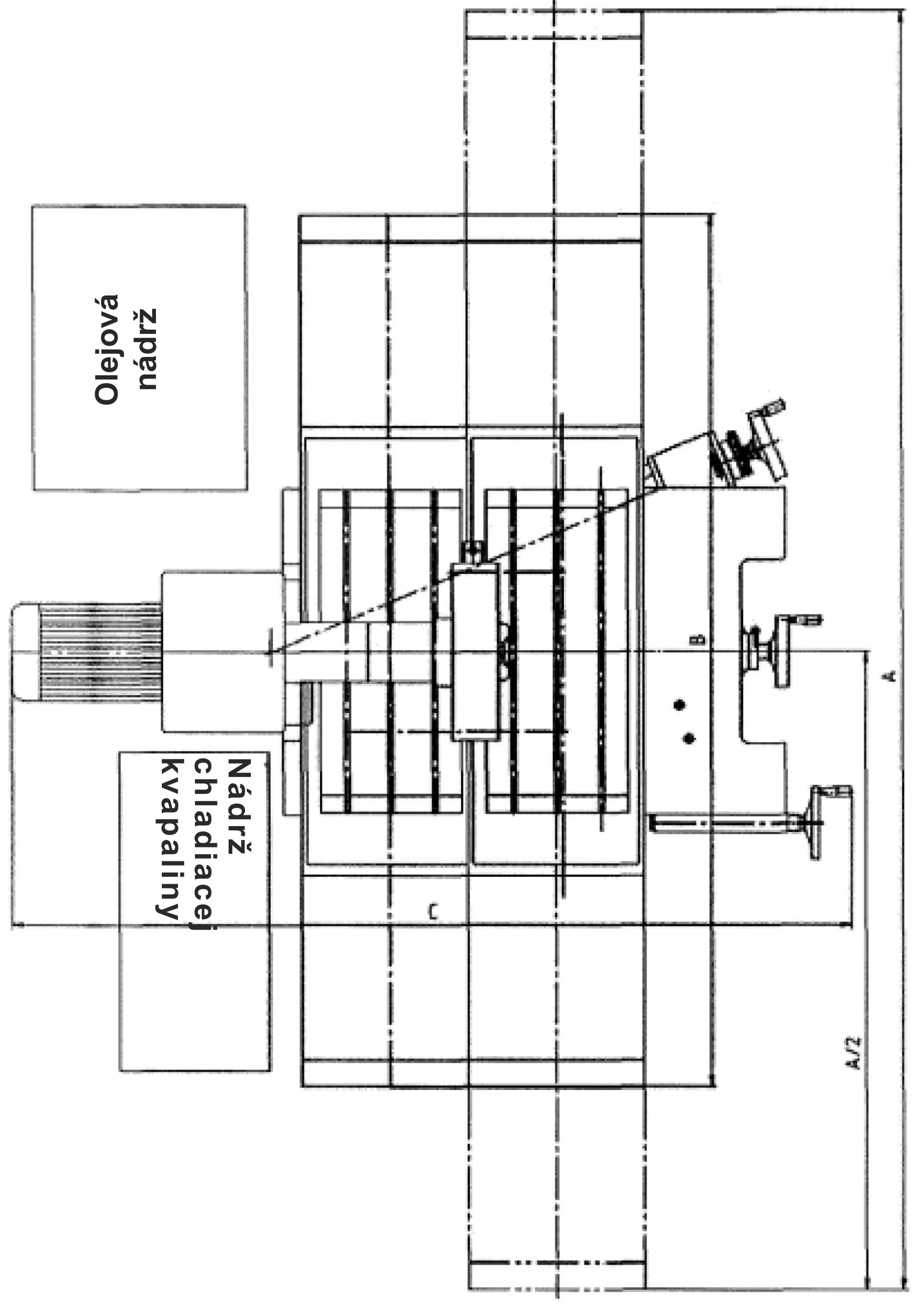
Schéma koncové polohy
| A | B | C |
| 3600 mm | 2630 mm | 2400 mm |
Výbava v závislosti na verzi
- Digitální odpočet

- Magnetický stůl 406x813
- Brusný kotouč
- Trn pro vyvážení brusného kotouče
- Držák brusného kotouče
- Chladící systém
- Zařízení na orovnávání brusných kotoučů
- Oddělovač třísek
- Instalace halogenového osvětlení
_(2).png)